全国900 城市空降可约_全国24小时空降高端附近可约_全国高端空降快餐_全国同城空降快餐

迅捷机械携手旗下东泰机械,打造专业包装机械工厂!




全自动热成型包装机工作原理

2014-3-24 9:34:44 []

 下图所示全自动热成型包装机,根据所能处理的薄膜宽度有多种规格型号,但是无论哪一种规格,其工作原理基本上是一样的。

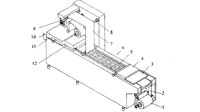
下图所示是迅捷320全自动热成型包装机的外形图,全自动热成型包装机由以下几部分组成:薄膜输送系统、上下膜导引部分、底膜预热区、热成型区、装填区、热封区、分切区及控制系统等组成。另配碎料及边料回收装置。整机采用模块式结构设计,可根据用户需要增减各种装置,从而增减改变各种功能。与真空包装机的工作原理区别很大。

全自动热成型包装机工作原理图

全自动热成型包装机由于采用卷筒薄膜成型包装,因此需要薄膜牵引输送装置。在工作中,底膜由预热成型至封合分切的全过程中均受到夹持牵引作用,其动力来自沿机器纵向两侧配置的传送链条。链条上每一节距均装配有一个夹子,这些夹子可自动将底膜夹住并由始至终。传送链条以连续步进的入式将底膜从机器始瑞送到终端。标准机型的链条由一个双速三相电机驱动,进给时采用高速,在每个步进停止前自动切换成低速运行,使其能准确地停止在每个步进的终止位置。

作为选择可采用步进电机驱动,实现电子控制无调速。这种驱动方式可使链条的运行速度在每个进给的起始阶段均匀加速,而在终止阶段逐步减速。采用这种驱动方式可避免在包装圆形物体或液体时由于链条的快速起动或急速停止而使包装物从托盘中波出或溅出。

相关文章:1.更换包装机的注意事项

2.台式真空充气包装机简介

3.无菌包装机械设备配套及生产流程

主站蜘蛛池模板: 新营市| 南木林县| 揭东县| 确山县| 十堰市| 沅陵县| 黑龙江省| 松潘县| 桃园县| 商丘市| 高陵县| 新龙县| 吕梁市| 泽普县| 夏邑县| 永城市| 白玉县| 搜索| 南城县| 襄汾县| 宿迁市| 临湘市| 永登县| 榆树市| 宁远县| 敦化市| 色达县| 朝阳县| 化隆| 南城县| 南皮县| 西乡县| 东平县| 芜湖市| 晋州市| 克拉玛依市| 缙云县| 闽清县| 汕头市| 宝山区| 夹江县|